
苹果iPhone 20周年纪念版曝光,卓越显示效果带来更亮眼体验
苹果即将推出庆祝iPhone诞生20周年的纪念版手机,其显示效果更加亮眼,这款新版iPhone拥有更高的亮度和更清晰的显示效果,为用户带来前所未有的视觉体验,更多细节尚未公布,但这一消息已经引起了广大果粉的极大关注和期待,该纪念版手机不仅在设计上有所突破,更在性能上有所提升,预计将为用户带来全新的使用体验。
随着iPhone 17系列手机的发售,苹果后续的新机计划也逐渐曝光了。
有消息源指出,2027 年是 iPhone 问世 20 周年,就像当年 iPhone X 作为 10 周年特别机型一样,苹果也很可能会在这个重要的节点推出一款具有纪念意义的全新 iPhone。
此前有消息称,苹果计划在 Vision Air 上采用一种全新的显示技术,让屏幕更薄、更亮。
由此可以推测,这项技术有望在同一年首次登上 iPhone。
据悉,目前常见的手机屏幕由多层结构堆叠而成:显示面板、触控层、滤光层和盖板玻璃等。虽然这种设计能实现各种功能,但层数的增加不仅让屏幕更厚、成本更高,还会在一定程度上削弱光线穿透率,从而影响亮度和观感。
因此,将多种功能集成到更少的层级中,一直是显示技术领域探索的方向。而三星再其折叠屏手机上使用的一项名为 CoE 的技术,可能就是苹果下一步的目标。
参考线有资料,CoE(Color filter on encapsulation,封装上彩色滤光片)技术,就是把发光层和彩色滤光片直接整合到同一块基板上。这样一来,屏幕厚度可以进一步减少,光路也更短,从而显著提升亮度。
苹果计划在 2027 年将 CoE 技术应用于两款重磅产品。
第一款是Vision Air,作为 Vision Pro 的后续产品,它可能会拥有更亲民的定位和更轻巧的设计。
另一款则是 2027 年的全新iPhone,预计叫做“iPhone Pro”,是一款全新的、以「玻璃」为设计中心的 iPhone Pro 机型,但设计细节目前未知。
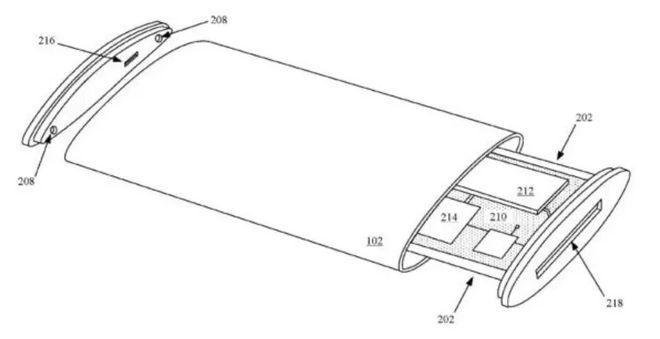
不过作为参考,苹果近日获得了一项名为"电子设备环绕式显示屏"的专利,最新获批版本最初于2019年申请,着重描述了如何在透明外壳内集成柔性显示屏,使图像显示可覆盖设备任意表面。
专利文件显示,传统iPhone/iPad设计导致侧边与背部空间利用率不足,而环绕式屏幕能最大化利用设备表面。技术核心涉及柔性显示模组的制造工艺,屏幕可随需求在设备框架不同位置移动定位。
虽然专利主要聚焦理论制造流程,但暗示了类似折叠屏设备所需的关键技术突破。
值得一提的是,乔布斯曾提到过自己理想中的 iPhone:是能够像一块「充满魔力的玻璃」的手机,没有其他多余的设计。
而这款全新的 iPhone Pro,似乎就有些符合乔布斯的这一定义,大家可以期待一下。
除了新机爆料,苹果目前已经停止对iOS 18.6.2的签名验证,这意味着已升级到iOS 26的iPhone用户无法再降级到iOS 18.6.2。
苹果并没有强迫用户安装iOS 26,可以选择继续使用iOS 18,但一旦设备升级到iOS 26,就没有回头路了。所以想升级系统的小伙伴一定要慎重考虑。
作者:访客本文地址:https://nnobu.com/nnobu/3238.html发布于 2025-09-26 13:02:57
文章转载或复制请以超链接形式并注明出处新华能源网